카메라백은 DSLR, 미러리스 카메라, 고가의 광학 렌즈 및 관련 정밀 액세서리를 외부의 물리적 충격, 진동, 습기, 먼지로부터 보호하기 위해 설계된 특수 목적용 기능성 가방입니다. 일반적인 패션 가방과 달리 고밀도 완충재(PE Foam, EVA Sheet)가 전 면에 내장된 다층 구조(Multi-layered Structure)를 취하며, 장비의 하중을 견디기 위한 고강도 봉제 기법과 내마모성이 뛰어난 고기능성 원단이 사용됩니다.
물리적 구조상 ISO 4915 Class 301 (본봉/Lockstitch)을 주력으로 사용하며, 하중이 집중되는 어깨끈 연결부 및 손잡이에는 Class 304 (지그재그 스티치) 또는 전자 사이클 머신(Computer Pattern Tacker)을 이용한 보강 봉제가 필수적입니다. 내부 파티션은 사용자 편의에 따라 공간을 재구성할 수 있도록 벨크로(Hook & Loop) 시스템이 적용됩니다.
기술적 작동 원리 및 소재 상호작용:
카메라백 봉제의 핵심은 '고평량 원단(Heavy-duty Fabric)'과 '두꺼운 완충재(Foam)'라는 이질적인 재료를 하나의 구조체로 결합하는 데 있습니다. 봉제 시 바늘은 1000D 이상의 코듀라 원단과 10T(10mm) 이상의 PE 폼을 동시에 관통해야 합니다. 이때 일반적인 하판 이송(Drop Feed) 방식은 상판 원단이 밀려 땀수가 불규칙해지거나 자재가 씹히는 현상이 발생합니다. 이를 해결하기 위해 바늘, 톱니, 노루발이 동시에 자재를 밀어주는 종합송(Unison Feed) 메커니즘이 작동하며, 이는 자재 간의 마찰 계수 차이를 극복하고 일정한 SPI(Stitches Per Inch)를 유지하게 합니다.
유사 기법과의 차이점:
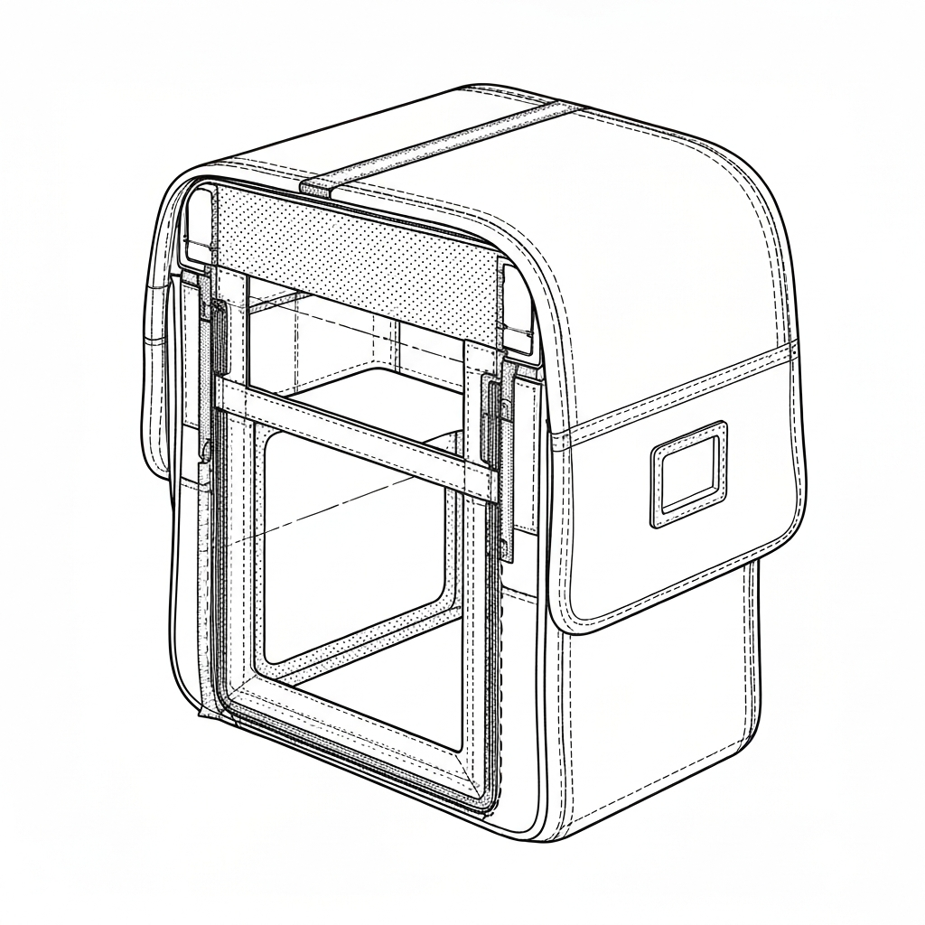
일반 백팩이 경량화와 유연성에 집중한다면, 카메라백은 '강성(Rigidity)'과 '형태 유지력'에 집중합니다. 일반 가방은 내부 시접을 오바로크(Overlock)로 마감하는 경우가 많으나, 카메라백은 구조적 강도를 위해 반드시 바이어스 테이프를 이용한 해리(Binding) 마감을 채택합니다. 또한, 충격 흡수를 위해 원단 사이에 삽입되는 폼이 봉제선 안쪽까지 꽉 차 있어야 하므로, 봉제 시 노루발이 폼의 끝단을 정확히 눌러주며 지나가는 정밀한 피딩 기술이 요구됩니다.
종합송(Unison Feed) 공정: 톱니, 바늘, 노루발이 동시에 움직여 원단을 이송하는 기법입니다. 카메라백처럼 두꺼운 PE 폼이 삽입된 자재는 일반 본봉으로 봉제 시 상하판 밀림 현상이 발생하므로 반드시 종합송 미싱을 사용해야 합니다. 특히 코너 구간에서 땀수가 작아지는 것을 방지하기 위해 상하 이송량의 동기화가 필수적입니다. Juki LU-1508N 모델의 경우, 교차 상승량을 최대 7mm까지 조절할 수 있어 단차 극복에 유리합니다.
해리(Binding) 처리: 가방 내부의 시접을 정리하고 구조적 강성을 높이기 위해 바이어스 테이프를 덧대어 봉제합니다. 주로 실린더 베드(Cylinder Bed) 미싱에 바인더 랍빠(Folder)를 장착하여 작업합니다. 곡선 구간에서 테이프가 울지 않도록 랍빠의 각도와 테이프 공급 장력을 미세 조정해야 합니다.
박스-엑스(Box-X) 보강: 스트랩과 본체가 만나는 지점에 사각형과 대각선이 교차하는 형태로 봉제하여 인장 강도를 극대화합니다. 최근에는 Brother BAS-311G와 같은 컴퓨터 타카를 사용하여 일정한 패턴과 강도를 확보합니다. 1인치당 28~42바(Bar)의 고밀도 스티치가 적용됩니다.
파티션 벨크로 봉제: 내부 공간 분할을 위해 벨크로 암수(Hook & Loop)를 부착하며, 반복적인 탈부착에도 견딜 수 있도록 테두리를 촘촘하게 봉제합니다. 벨크로의 거친 면(Hook)이 원단을 긁지 않도록 봉제 마진을 1~2mm 안쪽으로 설정하는 것이 노하우입니다.
파이핑(Piping) 공정: 가방의 외곽 라인을 살리고 마찰로부터 봉제선을 보호하기 위해 플라스틱 심지가 들어간 파이핑을 삽입합니다. 이는 가방이 비어있을 때도 형태를 유지하게 하는 '골조' 역할을 합니다.
카메라백의 제조 기술은 단순히 광학 기기 수납에 그치지 않고, 고부가가치 하드 케이스 산업 전반에 적용됩니다.
* 백팩 어깨끈 연결부: 사용자의 하중이 집중되는 부위로, 본체 원단과 어깨끈 사이에 '하이팔론(Hypalon)' 보강재를 샌드위치 구조로 삽입하고 42바(Bar) 이상의 고밀도 바택을 적용합니다. 이는 20kg 이상의 정적 하중을 견뎌야 하는 전문가용 백팩의 필수 사양입니다.
* 가방 하단(Bottom): 지면에 닿는 부위로 내마모성이 극대화된 1680D 발리스틱 나일론을 사용하며, 내부에는 2T 이상의 PE 보드(Board)를 삽입하여 형태를 유지합니다. 습기 차단을 위해 바닥면에는 타포린(Tarpaulin) 소재를 합봉하기도 합니다.
* 드론 및 정밀 측정기 케이스: 카메라백보다 더 두꺼운 15T~20T EVA 폼을 사용하며, 정밀 기기 보호를 위해 내부 안감에 기모(Tricot) 원단을 합봉하여 봉제합니다. 특히 드론의 프로펠러나 안테나 등 돌출 부위가 걸리지 않도록 무봉제(Seamless) 열압착 기술과 혼용되는 추세입니다.
* 방송용 캠코더 리그 가방: 장비의 길이가 길고 무게 중심이 한쪽으로 쏠리는 특성을 고려하여, 비대칭 구조의 보강 봉제와 알루미늄 프레임 삽입 공정이 추가됩니다.
카메라백의 고강도 봉제 및 완충재 삽입 기술은 특수 의류 분야에서도 핵심적으로 활용됩니다.
* 택티컬/워크웨어: 무릎이나 팔꿈치 부위의 보호대 삽입 포켓 봉제 시 카메라백의 파티션 봉제 기술이 적용됩니다. (SPI 8~10 유지). 특히 마찰이 잦은 부위에는 코듀라 원단을 덧대어 종합송 미싱으로 합봉합니다.
* 방탄조끼(Tactical Vest): 몰리(MOLLE) 시스템 웨빙 부착 시 카메라백의 보강 봉제(Bar-tack) 규격인 1인치당 28~36땀의 고밀도 봉제를 수행합니다. 이는 전장에서 파우치가 이탈하는 것을 방지하는 결정적인 품질 요소입니다.
* 오토바이 라이딩 기어: 사고 시 충격 흡수를 위한 CE 인증 보호대 포켓 봉제에 카메라백의 EVA 폼 고정 기술이 그대로 사용됩니다.
한국 (Korea): 1980-90년대부터 축적된 '다마(형태)' 잡는 기술이 세계 최고 수준입니다. 샘플 제작 및 하이엔드 브랜드(예: Billingham 스타일)의 소량 다품종 생산에 강점이 있습니다. 한국 기술자들은 노루발 압력을 감각적으로 조절하여 미세한 곡선을 살리는 데 능숙합니다.
베트남 (Vietnam): 글로벌 브랜드(Lowepro, Case Logic 등)의 주력 생산 기지입니다. 대규모 라인 밸런싱(Line Balancing)과 엄격한 AQL 검사 시스템을 갖추고 있어 대량 생산 품질이 안정적입니다. 현장에서는 'May viền(바인딩)' 공정의 숙련도를 라인 생산성의 척도로 삼습니다.
중국 (China): 광둥성(Guangdong) 일대에 원부자재 클러스터가 형성되어 있어 소싱 속도가 매우 빠릅니다. 최신 자동화 장비(자동 사절 종합송, 자동 파이핑기) 도입이 가장 활발하며, CNC 패턴 미싱을 이용한 복잡한 로고 자수와 보강 봉제를 동시에 처리하는 기술이 발달해 있습니다.
graph TD
A[자재 입고 및 검사] --> B[원단 및 PE 폼 정밀 커팅]
B --> C[내부 파티션 벨크로 및 심지 부착]
C --> D[앞판/옆판 포켓 및 지퍼 조립]
D --> E[본체 및 완충재 합봉 - 종합송 미싱]
E --> F[스트랩 연결부 보강 - 컴퓨터 타카]
F --> G[내부 시접 해리 처리 - 실린더 베드]
G --> H[시아게/실밥 제거 및 최종 검수]
H --> I[하중 테스트 및 포장]
I --> J[최종 출하]